ИСКРА-АТ.03

Схема подключения барьера ИСКРА-АТ.03, R1 = 425 Ом ± 5 %
Максимальное сопротивление нагрузки Rн.max рассчитывается по формуле:
| Rн.max = | Uпит - Uд.min - 10,0 Iд | , кОм |
где Uпит – напряжение источника питания, В;
Uд.min – минимально допустимое напряжение питания датчика, В;
Iд – ток датчика, А
1,7 – падение напряжения на диоде VD1, В
441 – сопротивление токоограничительных резисторов и предохранителей барьера, Ом
ИСКРА-ТП.03

Схема подключения барьера ИСКРА-ТП.03, R1 = R2 = 77 Ом ± 5 %
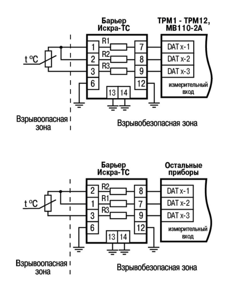
ИСКРА-ТС.03

Схема подключения барьера ИСКРА-ТС.03, R1, R2, R3 = 70 Ом ± 5 %
Разброс сопротивлений R2 и R3 составляет не более 0,2 Ом.