Тел: +38 (057) 720-91-19 Email: sales@aqteck.ua; support@aqteck.ua Viber (тільки текстові повідомлення) 61153, м. Харків, вул. Гвардійців Широнінців, 3А 0-800-21-01-96
РусУкр
0-800-21-01-96 ТЕХПІДТРИМКА
( безкоштовно зі стаціонарних і мобільних телефонів по території України )
MTB4-LZ. Кінцеві вимикачі IP65

MTB4-LZ. Кінцеві вимикачі IP65

Доступність: Стандартна модифікація

Компактні й точні кінцеві вимикачі у високому пило - і вологозахищеному виконанні (ступінь захисту IP65), яке дозволяє використовувати цю серію у важких умовах (деревообробні верстати, конвеєри, кранові електроприводи, лебідки, системи контролю й автоматики та інші).

Зображення

Тип виконавчого механізму

Артикул

Діаграма роботи контактної групи

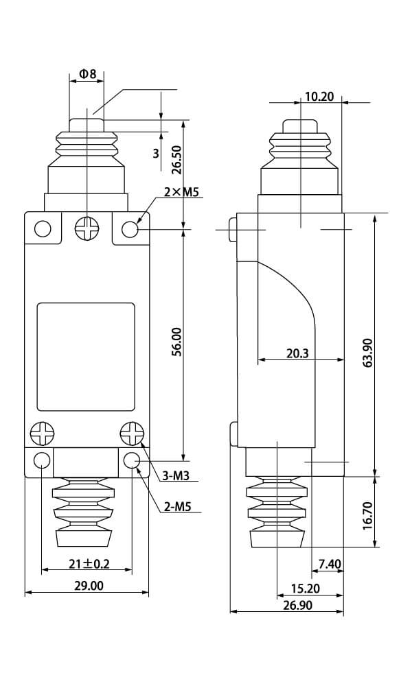
Габаритні розміри

Кінцевий вимикач MTB4-LZ8104

Поворотний важіль зі сталевим роликом

MTB4-LZ8104

Діаграма роботи контактної групи MTB4-LZ8104 Габаритні розміри MTB4-LZ8104
Кінцевий вимикач MTB4-LZ8108

Регульований поворотний важіль зі сталевим роликом

MTB4-LZ8108

Діаграма роботи контактної групи MTB4-LZ8108 Габаритні розміри MTB4-LZ8108
Кінцевий вимикач MTB4-LZ8107

Шток регульований, сталевий

MTB4-LZ8107

Діаграма роботи контактної групи MTB4-LZ8107 Габаритні розміри MTB4-LZ8107
Кінцевий вимикач MTB4-LZ8111

Кнопка сталева

MTB4-LZ8111

Діаграма роботи контактної групи MTB4-LZ8111 Габаритні розміри MTB4-LZ8111
Кінцевий вимикач MTB4-LZ8112

Горизонтальний натискний диск, сталевий

MTB4-LZ8112

Діаграма роботи контактної групи MTB4-LZ8112 Габаритні розміри MTB4-LZ8112
Кінцевий вимикач MTB4-LZ8166

Шток пружинний сталевий з термопластиковим наконечником на відхилення

MTB4-LZ8166

Діаграма роботи контактної групи MTB4-LZ8166 Габаритні розміри MTB4-LZ8166
Кінцевий вимикач MTB4-LZ8167

Шток пружинний сталевий на відхилення

MTB4-LZ8167

Діаграма роботи контактної групи MTB4-LZ8167 Габаритні розміри MTB4-LZ8167
Кінцевий вимикач MTB4-LZ8169

Шток пружинний сталевий з потоншанням на відхилення

MTB4-LZ8169

Діаграма роботи контактної групи MTB4-LZ8169 Габаритні розміри MTB4-LZ8169

 

Монтаж

 

Монтаж кінцевих вимикачів Монтаж кінцевих вимикачів Монтаж кінцевих вимикачів
Підготувати отвори для встановлення Встановити вимикач, використовуючи гвинти М4 Відкрутити гвинти і зняти кришку
Монтаж кінцевих вимикачів Монтаж кінцевих вимикачів Монтаж кінцевих вимикачів
Витягти кабельний ввід з кришки і вставити в нього кабель Приєднати дроти до контактної групи Встановити кабельний ввід в кришку. Встановити кришку на корпус, закрутити гвинти.

Зворотній зв'язок